


LZ10002手動火災報警按鈕防雨罩是碳鋼材質,壁掛式安裝,適用于在室外安裝本安型手動報警按鈕,防護等級IP65??膳涮桩a品:J-SAB-G1(Ex)、J-SAF-GST9211A(Ex)手動火災報警按鈕。
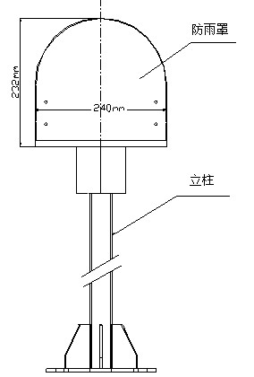
LZ10001型防雨罩與LZ1000型立柱配套安裝示意圖如圖所示
LZ10002型防雨罩采用壁掛式安裝,防護等級IP65,其外型尺寸及安裝示意圖如圖所示
2、四川J-SAM-GST9116手動報警按鈕室外立柱安裝配套產品:LZ10011型防雨罩與LZ1001型立柱;壁掛安裝時配套產品:LZ10011型防雨罩。 LZ10011型防雨罩與LZ1001型立柱配套安裝示意圖如圖所示
壁掛安裝方式示意圖如圖所示
